Apple received a patent for flexural screen
Apple's new patent reveals mobile devices that design flexible screens with hidden buttons beneath the surface.
Apple's new patent reveals mobile devices that design flexible screens with hidden buttons beneath the surface.
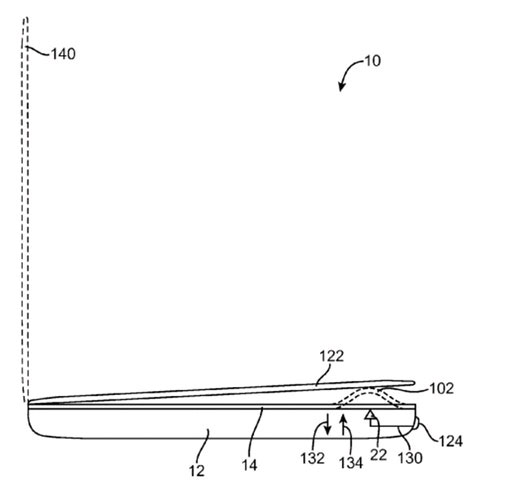
This image shows the temporary boost button (22) that can be pushed up above the screen (102) as required like the Home button on the iPhone.
The new patent content provided by the US Patent and Trademark Office ( USPTO ) shows how buttons and microphones can hide under the screen.
With the first option, future mobile devices will be equipped with physical buttons - such as the Home button - embedded under the screen can bend or deform, allowing users to push down.
In another embodiment, the screen may be placed on the actuator. They will compress the upward direction to create the required temporary buttons from anywhere on the screen, based on which provide tactile feedback.
By hiding the buttons below the screen, Apple can extend the size of the iPhone or iPad screen without making the device bigger and bulky. The technology described in the patent may show that Apple's future mobile devices will have screens that expose buttons when users need them.
This technology can be integrated into the MacBook's trackpad to create lanes (102) and make future laptops easier to open.
The patent shows that these functions are primarily for iPhone and iPad, and can also be integrated into the MacBook's trackpad to allow future MacBook designs to be more streamlined.
You've just finished reading the article "Apple received a patent for flexural screen" edited by the TipsMake team. You can save apple-received-a-patent-for-flexural-screen.pdf to your computer here to read later or print it out. We hope this article has provided you with many useful tech tips and tricks. You can search for similar articles on tips and guides. Thank you for reading and for following us regularly.
- Apple will produce curved screen iPhone, virtual button?
- New patent shows that Apple is ready for a foldable iPhone, sparking a new 'arms race'?
- Apple asked ITC to review the ban on iPhone and iPad sales
- Apple receives a patent for 'advertising according to user mood'.
- Apple will release a completely new 16-inch MacBook Pro and a 32-inch 6k screen this year?
- The patent shows that iMessage can edit messages sent in the future