New patent shows that Apple is ready for a foldable iPhone, sparking a new 'arms race'?
First, it must be confirmed that you are unlikely to see a foldable iPhone, at least until September.
First, it must be affirmed that you are unlikely to see a foldable iPhone soon, at least until September when Apple may introduce the next generation of popular handsets. mine. However, there is nothing that must be rushed, the only folding screen phones appear, and the Galaxy Fold officially launched a few hours ago is just a screen smartphone folded the first commercial version. First in the world, then Apple - a manufacturer famous for 'redefining' technology inventions - has no reason to rush. The fact is that Apple is always behind Android smartphone manufacturers in terms of hardware and features, so the leak of a foldable iPhone is now not too much. doubt.
- Samsung's newly released true wireless headset can do something important that AirPods can't
But by 2020, this could be another story.
On Valentine's Day, which was less than a week ago when rival Samsung was expected to introduce a new foldable Galaxy phone, Apple sent an update to the spirit screen patent. Available (folding screen), showing that the company is busy carrying out its work on screen designs that can allow you to turn iPhone into iPad with just a few quick manipulations.
As for Apple's rivals, the Korean tech giant Samsung also demonstrated a prototype foldable smartphone in the developer conference last November, and recently this product has also appeared on a media event in San Francisco last Wednesday in a promotional video, before being officially released on dawn today February 21.
- Apple will release a completely new 16-inch MacBook Pro and a 32-inch 6k screen this year?
Why is a folding screen?
The idea of inventors here is that such a flexible screen will allow you to use the device in more ways, the simplest of which is to switch from a compact phone, to a listening call. tablet for entertainment purposes with just a few simple steps. For example, the case of the Galaxy Fold has just been launched, when in folded form, the device will have a relatively small screen size, only about 4.6 inches, and when opened, the screen size will reach over 7 inch.
At the MWC Global Mobile Exhibition 2019 took place in Barcelona later this month, foldable phones, along with new handsets, integrated with 5G technology are likely to be products. products, attracting the attention of professionals as well as users. Major Chinese technology companies such as Huawei and Xiaomi are also expected to focus their attention on their own foldable phone designs.
Going back to Apple's patent, this latest patent content includes 24 drawings, showing how Apple future devices can be folded. And these future devices may include iPads or Mac laptops, as well as iPhones.
- Apple bought AI startup with ambition to dominate the Alexa and Google Assistant applications market?
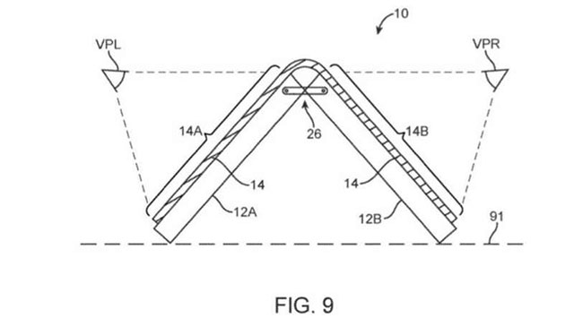
In a drawing, the product is bent like a pyramid, showing that two people sitting opposite each other can view separate screens. This will be a great app while playing games or viewing content in a large group of people.
Every year, leading technology companies submit applications to thousands of different patents, but the number of applications in practice is not really high. But Apple is different, the manufacturer is always very careful and thorough in each of its inventions. When Apple filed a patent for an invention, we could absolutely trust the prospect of that invention. Let's wait and see what Apple will do in the future!
Discover more
iphone folding screen foldable phone smartphone apple samsungShare by
Isabella HumphreyYou should read it
- 6 major challenges that folding screen phones need to overcome to prove they are not technology 'soon and dark'
- The case of the folding screen phone looks like this
- LG: Still 'too early' for the blooming of foldable smartphones
- Leaking images of new patents by Google: Challenges of the folding screen market in the future?
- Please see the video revealing the folding screen smartphone of the future
- The Quiet Details That Make a Sports Betting Platform Feel Reliable
- Instructions on creating toy set images with ChatGPT AI
- How are AI agents changing the journalism industry?
- Samsung introduced Bixby Routines, AI technology that can learn habits and anticipate user needs
- HTC announced the Vive Focus Plus independent VR headset, scheduled for sale in the second quarter of this year
- Nvidia launched GTX 1660 graphics card