Amazon submits the invention of an underwater warehouse to maximize storage space

Why build a warehouse on the ground while there is a lot of underwater space for fully automated warehouses? Please join us to see how Amazon submits inventions to underwater warehouses to maximize storage space!

Why build a warehouse on the ground while there is a lot of underwater space for fully automated warehouses?Please join us to see how Amazon submits inventions to underwater warehouses to maximize storage space !

  1. 15 Bill Gates predictions since 1999 have come true
  2. Amazon offers a smart solution to solve the most painful problem when buying clothes online
  3. 20 unique products on Amazon that you want to own right away

In the patent document submitted to the US copyright office, Amazon submitted a rather strange invention, called an underwater storage center , where the goods were stored in water-proof containers. and controlled by a box containing many technological devices attached to each container.

Picture 1 of Amazon submits the invention of an underwater warehouse to maximize storage space

Amazon has always been a pioneer in testing ways of storing and delivering goods to customers. Not long ago, the company proposed the idea of ​​a tower-type warehouse for shipping by drone.

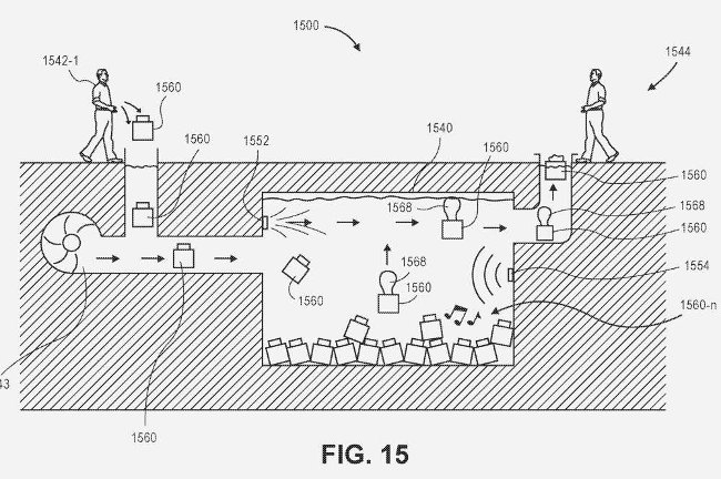
This idea was first submitted at the beginning of last year, Amazon called it an ' underwater center ' used to store goods between lakes, rivers or any possible water body.

Initially, people will put the goods into water-proof containers . This waterproof container is the key to the underwater warehouse system, containing equipment that can receive and send instructions in a variety of ways, including audio signals. Then use parachute to drop from the air to the water. Depending on the volume inside, the package will sink to different depths. When it is necessary to pick up, people will use pulses or sound force fields to push packages to the water surface by changing the specific weight of the package .

Picture 2 of Amazon submits the invention of an underwater warehouse to maximize storage space

That is, the altered mass can somehow change the charge of the air inside the package, similar to the i-ionizing of the air and altering its density.In addition, there is another solution that can be designed to add a fluid chamber inside the package, to immerse or bring it up, just open and close the valve to add or remove the solution.

In addition, people will also use balloons to bring packages to the surface and deliver them to buyers. Amazon did not mention how it would be delivered to customers, but in the past, they had submitted another patent, including the idea of ​​using ' airship ' vehicles.Of course, this work can also be undertaken by drones.

Picture 3 of Amazon submits the invention of an underwater warehouse to maximize storage space

According to the description diagram attached to the patent, the entire storage process of the underwater warehouse will be automated by Amazon .The water-proof container will connect to a control network and adjust the depth of the cargo through depth sensors, compressed air . Integrated GPS, waterproof containers can allow Amazon to store goods. in any country and easy to recall when needed. Even with the support of a propeller fan system, Amazon can store goods in a secret underwater storage area with a completely covered surface.

This may sound crazy but underwater storage offers many advantages. Goods are contained in waterproof packaging and attached special boxes can be dropped from trucks or airplanes into underwater warehouses without fear of damage from impact.

Picture 4 of Amazon submits the invention of an underwater warehouse to maximize storage space

Explaining the need to store underwater goods, the patent suggests that because " complete storage centers are now growing, complex and require a lot of technology to manage goods and warehouses. Current container has occupied an area of ​​millions of square meters or more '.

" Despite the progressive technology, shipping and warehousing centers are still hampered by inefficient use of space. Amazon believes that underwater warehouses can solve poor performance. Results above ".

Meanwhile, underwater stores can take advantage of vertical space better. Amazon said that employees working on the ground store had to walk kilometers to pick up goods, but the job could be replaced by automated systems if the warehouse was under water.

Once in the warehouse, the waterproof container will handle all the next work without the workers.Hiring or borrowing an underwater warehouse space will certainly be much cheaper than the surface area, so it will help Amazon reduce warehousing costs .Even taking advantage of abandoned water areas to build warehouses can help reduce costs to even lower levels.

Of course, the above is still a patent among many patents, not only Amazon but also many other companies apply for copyright.However, with the rapid development of Amazon and its warehouses, bringing goods into the water for storage is not a vain solution . Moreover, along with bringing goods into the water they can also take advantage of natural flows to move goods from one place to another in a cheaper way.

See also: 15 interesting facts you may not know about Amazon

Having fun!

You've just finished reading the article "Amazon submits the invention of an underwater warehouse to maximize storage space" edited by the TipsMake team. You can save amazon-submits-the-invention-of-an-underwater-warehouse-to-maximize-storage-space.pdf to your computer here to read later or print it out. We hope this article has provided you with many useful tech tips and tricks. You can search for similar articles on tips and guides. Thank you for reading and for following us regularly.

« PREV USB 3.2 promises to double the speed
NEXT » Experience Windows 95 right on the browser