Will Surface Pro 8 be the first computer in the world to run on light energy?
A leaked image of the patent application submitted by Microsoft to the US Patent Office (USPTO) has revealed a small piece of information about the revolutionary Surface model that is likely to be introduced by Redmond Company. next time.
Microsoft added Surface Pro 7 to its Surface Pro lineup in October 2019 with only a few minor improvements. Obviously this is the wrong plan because Surface Pro 7 could not become a revolutionary product, bringing resonance and market share as expected of Microsoft.
In the context of major competitors such as Lenovo, Dell, HP . continuously launching impressive and unique products such as dual-screen laptops, folding laptops . There is no time for Microsoft to hesitate, if they do not wants to lose more market share to competitors. This situation forces Redmond company to launch a new product that not only possesses beautiful design, powerful configuration, but also brings in its unique features.
Recently, a leaked image from a patent application submitted by Microsoft to the US Patent Office (USPTO) has revealed a small piece of information about the revolutionary Surface model that is likely to be the company. Redmond introduces in the near future.
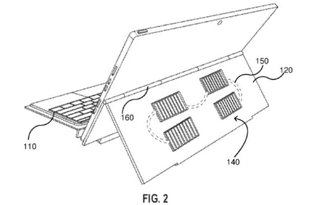
Accordingly, this laptop is called Surface Pro 8 Type Cover, with the highlight of the complex light energy battery system on the back, as you can see in the leaked image below. There will be at least 4 solar panels attached to the back of the Surface Pro 8 Type Cover, which will allow the device to charge from a variety of light energy sources (including artificial light), not just sunlight. Another interesting thing is that the Surface Pro 8 Type Cover's light-energy battery system is designed in a way that can be charged right when the user is using it.
However, the patent does not specify which type of battery will be used by Microsoft. These could be monocrystalline solar cells, polycrystalline solar cells, thin-film silicon solar cells or PV-focused solar cells - the most popular types of solar cells currently in use.
Unique in the design of this laptop is the unique stand, which allows users to freely adjust the angle of the panels to maximize exposure to light, thereby adjusting the charging speed. of equipment.
Currently Microsoft has not released any official information about this laptop model. However, the potential for such a device to launch is huge, promising to bring exciting changes in the global laptop market.
You've just finished reading the article "Will Surface Pro 8 be the first computer in the world to run on light energy?" edited by the TipsMake team. You can save will-surface-pro-8-be-the-first-computer-in-the-world-to-run-on-light-energy.pdf to your computer here to read later or print it out. We hope this article has provided you with many useful tech tips and tricks. You can search for similar articles on tips and guides. Thank you for reading and for following us regularly.
- How to manually turn off the power light and hard drive light on the desktop
- Which type of light bulb is the most economical to use?
- The strange energy beam moves faster than the speed of light, moving in a spiral form
- Compare Microsoft Surface 3 and Surface Pro 3
- Microsoft launched the first ad clip of the Surface Pro 3
- Surface Pro 3 receives new updates, improves drivers for the Surface Pen