Samsung Galaxy Ring 2 patented
This patent was filed in May 2024 with the United States Patent Registry
Information about Samsung's upcoming fitness tracker, the Galaxy Ring, has appeared several times on the internet. Not long ago, promotional images of all the products expected to launch at the upcoming Unpacked event were leaked, suggesting that the Galaxy Ring could also be a part of it.
Galaxy Ring's FCC certification has revealed many details about Samsung's upcoming fitness tracker. Notably, the Korean manufacturer's smart ring model is expected to be launched in many versions of sizes from 5 to 12. Leaked sources guess that there will be a 17mAh battery for sizes 5, 6 and 7. While the larger size versions, including 8, 9, 10 and 11, will have 18.5mAh batteries. In particular, the largest size 12 variant will be equipped with a 22.5mAh battery.
However, while the commercial version of the first generation Galaxy Ring model has not yet officially launched, a new Samsung Galaxy Ring model has just been patented in the United States, most likely the second generation Galaxy Ring. .
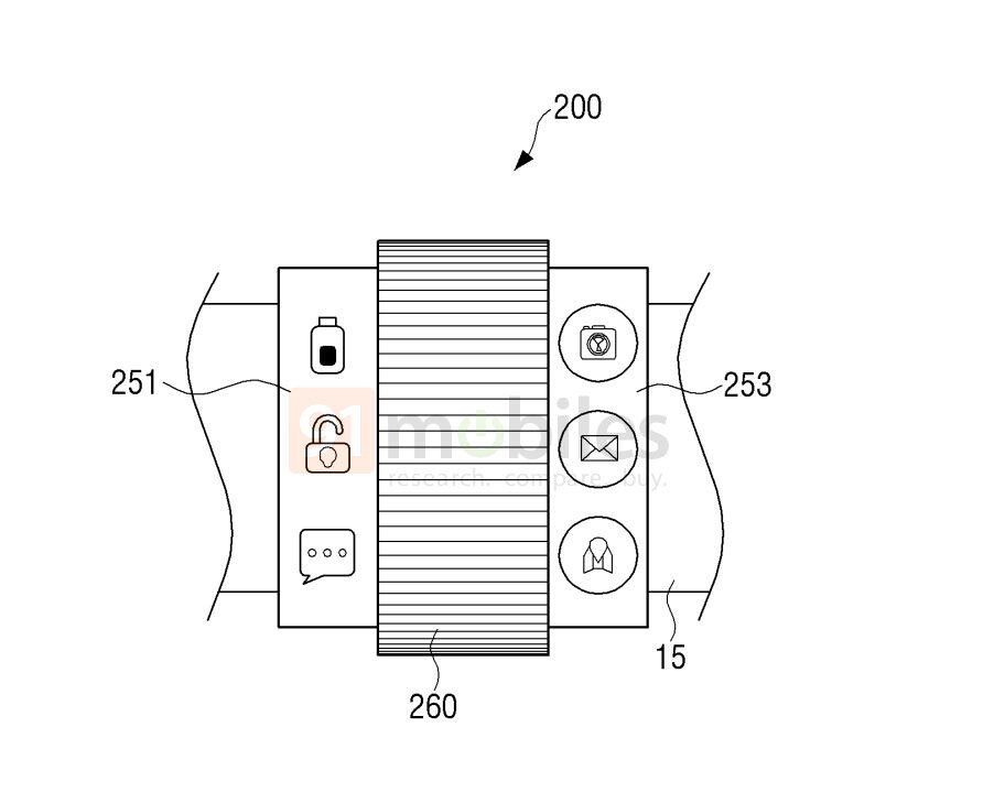
According to a new report from 91Mobiles, this patent was filed in May 2024 at the US Patent Registry, which reveals some key details about the alleged design of the Galaxy Ring 2. The patent content shows a circular device filled with sensors placed inside. Each sensor performs different tasks.
A big change that can be seen in this patent is that the new Galaxy Ring version has a slightly 'square to sharp' outer shell. The overall design of the ring also seems a bit elongated, not a basic circle like the design of the upcoming Galaxy Ring. It is not excluded that the square outer layer may contain a tiny AMOLED screen so users can interact and quickly view health indicators.
There are not many detailed information yet, but there is a high possibility that this will be the Galaxy Ring 2 series that Samsung is cherishing. The patent also suggests that the ring could come with an ECG sensor, temperature sensor, accelerometer, fingerprint sensor, and some other basic types of sensors.
Discover more
Share by
Micah SotoYou should read it
- Galaxy Ring: Samsung's smart ring collects user health data and sends it to smartphones
- Will Apple launch a smart ring product? Why is it better than a smartwatch?
- Revealing the 'super strange' hidden feature of the Apple smart ring
- Instructions for installing Ring of Elysium on the computer
- Do you know why wedding rings are always worn on the ring finger?
- The Quiet Details That Make a Sports Betting Platform Feel Reliable
- Instructions on creating toy set images with ChatGPT AI
- How are AI agents changing the journalism industry?
- 5 things Macs can do that iPads can't
- What are DoS and DDoS denial of service attacks? What are their harmful effects?
- 10 ways to increase network speed on your phone